产品介绍PRODUCT
压铸机
注塑机
挤压机
立磨
AFC
| 型号 | 単位 | 1050MMX | |||
|---|---|---|---|---|---|
| 160 | 240 | ||||
| 射 出 |
螺杆 | mm | 105 | 120 | |
| 理论注射容量 | cm3 | 4,540 | 6,780 | ||
| 注射质量 | 聚苯乙烯(PS) | g | 4,180 | 6,240 | |
| 聚乙烯(PE) | 3,360 | 5,020 | |||
| 射出圧力 | MPa (kgf/cm2) |
177 (1,800) |
|||
| 注射速度 | mm/sec | 106 | 97 | ||
| 注射率 | cm3/sec | 920 | 1,095 | ||
| 塑化能力(PS) | kg/hr | 580 | 655 | ||
| 螺杆回转速度 | rpm | 139 | 168 | ||
| 型 締 |
合模力 | kN (tf) |
10,296 (1,050) |
||
| 开模力 | 608 (62) |
||||
| 合模速度(高速) | m/min | 45 | |||
| 开模速度(高速) | |||||
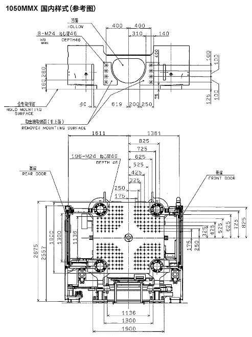
| 模具尺寸(H×V) | mm | 1,900×1,900 | |||
| 拉杆间隙(H×V) | 1,300×1,300 | ||||
| 合模行程 | 1,750 | ||||
| 最大间距 | 2,250 | ||||
| 模具厚度 | 500~1,100 | ||||
| 顶出器 | 顶出力 | kN (tf) |
196(20) | ||
| 行程 | mm | 200 | |||
| 一 般 |
油泵用电机 | kW | 123 | 146 | |
| 加热器容量(380V/50Hz) | 50.7 | 53.5 | |||
| 作动油容量(油箱内) | L | 2,200 [1,700] |
2,600 [2,000] |
||
| 机械尺寸 | L | m | 10.4 | 11.1 | |
| W | 3.2 | ||||
| H | 3 | ||||
| 机械质量 | ton | 47 | 51 | ||
注)
1.本表的数値如遇变更,恕不另行通知。
2.本表的数値为60Hz,50Hz共通。(加热器的电气容量除外)
3.注射重量,注射率,可塑化能力会由于使用的树脂,成形条件的不同而发生变化。如需使用最大能力的话,还请和敝公司商谈。

咨询电话号码
宇部兴产机械(上海)有限公司
中国上海市浦东外高桥保税区富特北路91号
Copyright?2015 Ubekousan inc.,japan All Rights Reserved 沪ICP备05026110号-1